Показали новий Hyundai Palisade із дизайном під Range Rover (фото)
Hyundai активно працює над другим поколінням свого флагманського позашляховика Palisade. Хоча прототипи автомобіля вже неодноразово з'являлися в Мережі в камуфляжі, модель наближається до своєї...
Toyota не ризикуватиме з новим поколінням RAV4
З моменту появи на ринку в середині 90-х років Toyota RAV4 стала флагманом модельного ряду японського бренду по всьому світу. Спочатку задуманий як автомобіль...
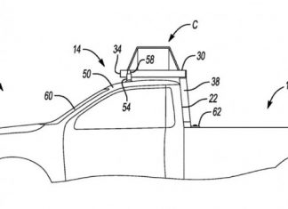
Ford патентує інноваційні рейлінги на дах (фото)
Компанія Ford активно розробляє висувні рейлінги і багажники на даху, які можуть розгортатися за потреби та складатися для зменшення аеродинамічного опору. Два патенти, подані...
Названі авто, якими найбільше задоволені їхні власники
Консалтингова фірма JD Power оприлюднила результати свого нового дослідження APEAL (Рейтинг задоволеності). Цього року найбільше задоволення серед автовласників викликали нові автомобілі брендів Rivian, Porsche...
Toyota готує новий позашляховик дешевший за RAV4 (фото)
Нова Toyota Land Cruiser 250, яка замінила модель Prado, продемонструвала новий стиль позашляховиків компанії. У цьому ж дусі готують ще одну модель - Toyota...
Volkswagen Passat показаний на фото в абсолютно новій версії Executive
У базі Міністерства промисловості та інформаційних технологій КНР з'явилися фотографії та документи, що розкривають характеристики абсолютно нової версії Volkswagen Passat 2025 під назвою Executive....
Новий Nissan GT-R: Розкрито останні подробиці
17 років тому Nissan випустив суперкар GT-R, що став справжнім проривом у світі автомобілів. Ця машина мала інтелектуальну систему повного приводу, яка здавалася складною...
Mitsubishi Pajero стає преміум-позашляховиком (фото)
Чутки про повернення Mitsubishi Pajero (відомого на деяких ринках як Montero) продовжують поширюватися, що свідчить про те, що проект, ймовірно, знаходиться у розробці та...
Нова Hyundai Creta має ажіотажний попит
Рестайлінг кросовера Hyundai Creta, який відбувся в Індії в середині січня, приніс компанії несподівані комерційні успіхи. За перші 6 місяців після оновлення корейський бренд...
5 найменш надійних автомобілів за відгуками власників
Надійність – один із ключових факторів при виборі транспортного засобу для більшості людей, часто набагато важливіший, ніж додаткові опції чи обладнання.
Американська некомерційна організація «Consumer...















