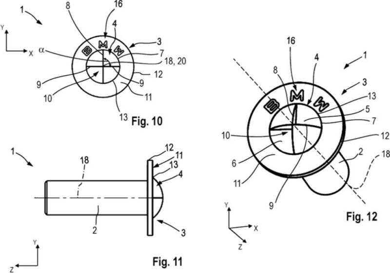
BMW запатентувала гвинти зі своїм логотипом, для відкручування яких потрібні спеціальні інструменти. Компанія пояснює це бажанням ускладнити ремонт авто поза офіційними сервісами.
Патент передбачає чотири типи головок (гніздові, плоскі та заокруглені), виконані у формі емблеми BMW з чотирма квадрантами: дві секції заглиблені, дві – плоскі або опуклі. Через таку конструкцію звичайні інструменти не підходять, і для роботи потрібне спеціальне обладнання.
Для власників та механіків це може бути незручно, оскільки ускладнюється самостійне обслуговування авто. Ентузіасти вже висловлюють критику щодо таких обмежень, підкреслюючи, що вони зменшують свободу користувачів.
Жарти в інтернеті припускають, що підробки спеціальних інструментів можуть з’явитися на AliExpress та Temu ще до того, як гвинти почнуть встановлювати на автомобілі, що демонструє гумористичний бік ситуації.




