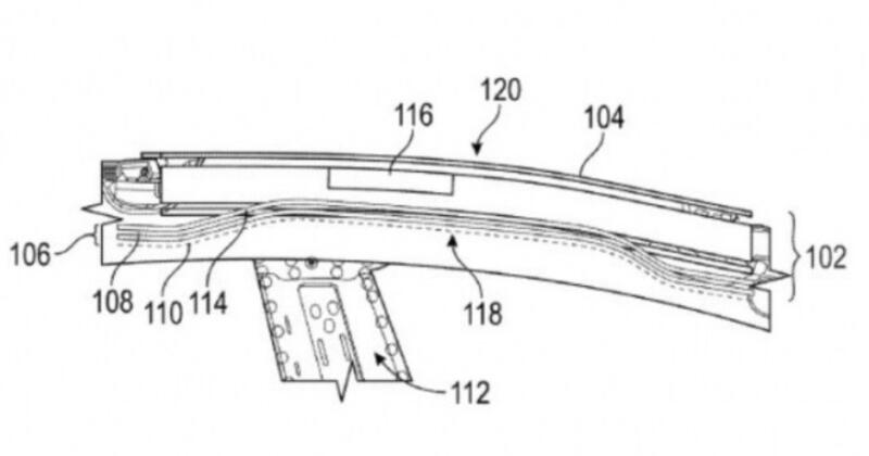
Tesla планує інтегрувати супутниковий інтернет у свої автомобілі, заклавши цю можливість на рівні конструкції даху. Новий патент описує радіопрозорий дах із полімерних матеріалів (полікарбонат, ABS, ASA), який дозволяє приховати антени всередині кузова та одночасно забезпечує стабільний сигнал для супутникових і мобільних мереж.
Дах залишається міцним і безпечним завдяки багатошаровій конструкції, що знижує шум і вібрації, відповідає стандартам безпеки США та виконує роль силового елемента кузова. Завдяки цьому відпадає потреба в зовнішніх антенах на кшталт “акулячих плавників”, що покращує аеродинаміку та дизайн.

Конструкція передбачає попереднє встановлення електроніки до монтажу даху на автомобіль і оптимізовані кути для прийому LTE та GNSS сигналів, що робить його готовим до інтегрованого супутникового інтернету, ймовірно Starlink.
У разі реалізації користувачі отримають стабільний зв’язок навіть у віддалених районах, що важливо для міжміських поїздок та автономних сервісів, зокрема Robotaxi. Досі деякі власники Tesla експериментували з компактними терміналами Starlink Mini, але новий дах обіцяє елегантне заводське рішення для майбутніх моделей.





